2025官网首页——【长沙融华天玺】售楼处电话【融华天玺楼盘怎么样】长沙融华天玺楼盘详情-户型-地址-价格-配套@2025.12.19售楼处Ai✦热搜
扫描到手机,新闻随时看
扫一扫,用手机看文章
更加方便分享给朋友

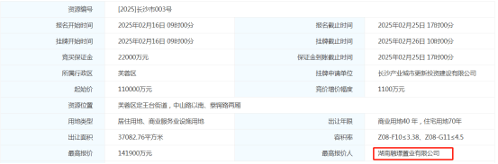
早在今年初2月26日,长沙蛇年土拍首宗住宅地块出让,位于定王台街道、蔡锷路两厢,距离五一广场仅500米,是近些年来位置最好、最靠近市中心的地块。经过30轮竞价,由湖南融璟置业有限公司以141900万元(溢价29%)摘得,折合楼面价约9435元/平。

而就在近日,该项目案名已公布——“融华天玺”。
项目面积约3.7万方,由两个小地块组成,容积率分别为3.38和4.5,规划为商住用地,商住比均为0.51∶9.49。

地块周边有IFS国金中心、世茂环球金融中心、7Mall、王府井、乐和城、太平老街、万达广场等,商业氛围浓厚。还有长沙市一中、田家炳实验中学、省人民医院、中医药大学第二附属医院等教育医疗资源环绕。
F10地块:中山路与蔡锷路交汇西南角,原长沙广播电视大学校区。总建筑面积62910.96㎡,计容建筑面积49740.62㎡,容积率3.38,4栋32F住宅,90≤S<150㎡的一共有351户。

G11地块:蔡锷路以东,中天广场以北。总建筑面积135322.55㎡,计容建筑面积100649.70㎡,容积率4.5,7栋32-50F住宅,90≤S<150㎡的有303户,150≤S<200㎡的有52户,>200㎡的有179户。

该项目要求住宅阳台统一封闭设计,也意味着是个“零公摊”项目,此外还要落实教育配套,据悉,地块旁边规划了一所中小学用地,很有可能作为该地块的配套。市中心的双书包配套,相当稀缺。
免责声明:本宣传资料所有文字、数据、图片及所标尺寸等仅为本项目建设区域设计效果的表达和示意,为要约邀请,不构成要约内容,相关内容不排除因政府相关规划、规定及其他原因而发生变化,一切有关房屋的具体信息以书面合同及政府最终审批文件为准。免责声明:本文章文字、数据和图片皆来源网络,如有侵权请告知立马删除,数据图片仅供参考,不作为邀约或承诺。
声明:本文由入驻焦点开放平台的作者撰写,除焦点官方账号外,观点仅代表作者本人,不代表焦点立场。
