广州精选好房——越秀观樾售楼处电话—百科详情【官网预约热线】➢实时动态➢最新价格➢户型图➢容积率@广州 越秀天河观樾营销中心
扫描到手机,新闻随时看
扫一扫,用手机看文章
更加方便分享给朋友
4001598559,5555
✨✨广州 越秀天河观樾售楼处电话📞:400-159-8559转接5555【售楼处已认证】
✨✨广州 越秀天河观樾营销中心电话📞:400-159-8559转接5555【官方已认证】
温馨提示:开发商售楼中心〢欢迎来电咨询〢安全通话隐藏真实号码
⭐⭐⭐预约来电尊享购房优惠,可预约案场内部销售人员,专业一对一热情服务,让您用专业眼光去买房
今天介绍的楼盘有点特别,在广州江景房,山景房,背山面海房,湖景房都不少,但是小区里面有三个湖,还是位于中心区域的项目确实独一份!
这个楼盘就是天河区世界大观的越秀观樾

项目距21 号线大观南路站直线约 0.4-1.5 公里。
配建 15 班幼儿园、800 方托儿所和 24 班小学,小学引进广州天河外国语教育集团合作办学,预计 2026 年 9 月开学。
自带约1 万㎡滨湖高端商业,下楼即享购物、休闲。
项目配建七大主题公园、约2000㎡湖畔会所(恒温泳池、健身房已运营),另外还有全龄活动空间、儿童游乐区、老人活动区、社区泛会所等,满足不同年龄段需求。

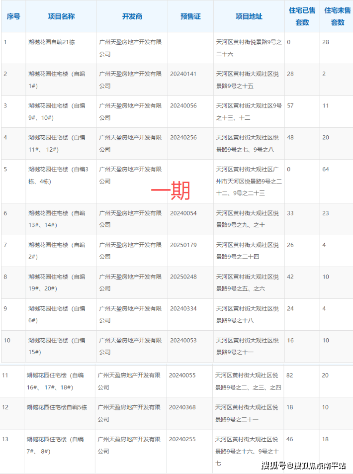
目前项目一、三、四期均已在售,二期暂未取得预售证
其中一期,除了3/4座,21-25座暂未取证,其他楼栋均已取证,所有面积均有房源在售,其中140平有2套工抵房源,劲减200万,总价890万起,仅有2套,先到先得。

而二期暂未取得预售证,去年5月就说开卖了,大概率是面积冲突和产品调整的原因,目前前排已经封顶


三期的所有楼栋均已取证,墅类产品基本售罄,而小高层的12-13座,基本剩余高层,本周有3套198平清栋优惠,总价1500万起,对比之前的价格有150个让利。

四期就是金茂和越秀合作的叠墅产品,去年有套产品成交价在18.9万/㎡,面积331平,总价6259万,一举刷新别墅成交总价纪录。
目前除了23-25座暂未取证,其他楼栋均已取证,总套数共111套,车位比1:2,下合墅(约 190–330㎡,4 层),上合墅(约 250–360㎡,5 层),总价区间:2000–3800 万,主力2500–3200 万

下面是楼盘的详细测评,对楼盘感兴趣的老铁,欢迎添加老K微信【FYLK7799】详细咨询,成交有五到六位数的反现哦!

【占地面积】约8.13万㎡
【总建面】13.3万㎡
【容积率】约1.91
【绿化率】35%
【总席位】约760席(一期),一期大地块606户,车位规划903个,车位配比1:1.46
【楼层高】13-17层
【产权年限】70年
【交房时间】2026年6月
【物业公司】越秀商管物业
【产品】建面约140/164/190/240㎡临湖大平层

地铁:周边直线 3km 范围内有 4 个地铁站,分别为大观南路、黄村、神舟路、天河智慧城,距离最近的地铁站是大观南路直线约 0.4-1.5 公里
道路:拥有 5 横 4 纵交通网,悦景路4+2 车道拓宽工程已正式通车。,奥体北路延长线已通车,可实现 20 分钟通达三大 CBD,驾车出行较为便捷。
幼儿园:配建 15 班幼儿园,周边 3km 范围内有 56 个幼儿园,如天河区体育西幼儿园悦景园区、广州市天河区体育西幼儿园(大观园区)等。
小学:配建 24 班小学,引进广州天河外国语教育集团合作办学,周边 3km 内有 15 个小学,包括奥体东小学、广州思源学校小学部等。
中学:隔壁有缦云配建的九年制公立学校,包含18班小学和27班中学,引入广州天河外国语学校教育集团办学,另外周边 3km 范围内有 7 个中学,如广州市天河区同仁学校、华实学校初中部等,约 5 公里范围内还有执信中学(天河校区)、广州奥林匹克中学(高中部)等
医院:周边 3km 范围内有 5 个一级及以上医院,周边覆盖 7 家综合性医院,包括三甲医院中大附属第一医院、暨大附属第一医院等,还有中山六院及 6.9 万㎡国际妇女儿童医院(规划中)

购物中心:周边 3km 范围内有 7 个购物中心,如天河城百货 OUTLETS (奥体店)、得利达广场、广州黄埔大悦汇等,此外,优托邦、美林天地、万科广场等大型购物中心距离项目也较近。
滨湖商业:越秀观樾二期有商业规划,将沿湖打造约 1 万平方米的商业体,涵盖精品超市、多元餐饮及儿童教育等多元业态
公园:周边 3km 范围内有 82 个公园,如法国刺绣花园、月亮湖等,项目自身还拥有约 5.3 万平方米的日月双湖,自然景观资源丰富。
🌊通过三重净化,实现湖区的"生态自循环",使水质达到三类饮用水标准,湖水能见度达1.5米
🌼保留场地原生木的同时新增约260棵臻稀植物,丰富园区生态,保留场地记忆

大观公园:公园用地面积约15万方,加上周边山林面积达到243万方,相当3.5个天河公园,8.6个珠江公园
体育设施:毗邻 2025 年全运会主场馆 —— 奥体中心,内含足球场、射箭场、网球馆、马术场等国际化标准设施






✨✨广州 越秀天河观樾售楼处电话📞:400-159-8559转接5555【售楼处已认证】
✨✨广州 越秀天河观樾营销中心电话📞:400-159-8559转接5555【官方已认证】
温馨提示:开发商售楼中心〢欢迎来电咨询〢安全通话隐藏真实号码
⭐⭐⭐预约来电尊享购房优惠,可预约案场内部销售人员,专业一对一热情服务,让您用专业眼光去买房
特别说明:
1.本文为要约邀请,不作为要约或承诺;相关宣传内容不排除因政府相关规划、规定及出卖人分期规划、未能控制等原因而发生变化;
2.本文部分图片来自于网络,如涉及版权使用,请联系删除;文本部分图片仅作为推广示意使用,非交付标准,最终以实际交付现状为准;
3.本宣传资料对项目周边学校等教育资源的介绍旨在提供相关信息,并不意味着本公司对就学安排作出承诺。教育资源的名称、办学性质、办学规模、学位设置、开学(班)时间、招生条件、收费标准及招生区域存在调整的可能,应以政府教育主管部门及办学方颁布的政策规定为准;
4.本资料对项目或产品的介绍,旨在提供相关信息,不意味着本公司对此作出了承诺,买卖双方的权利义务以《商品房买卖合同》及附件等协议为准;
5.宣传方保留对宣传资料修改和解释的权利
声明:本文由入驻焦点开放平台的作者撰写,除焦点官方账号外,观点仅代表作者本人,不代表焦点立场。
